来源:2020-01-07 11:23:27 热度:

亚马逊人手支付来了!不刷脸,刷手就能付钱_网易科技

AI中国网 https:// www.cnaiplus.com

(原标题:亚马逊人手支付来了!不刷脸,刷手就能付钱)

亚马逊一直都在琢磨,怎么让顾客结账更利索。

2018年,亚马逊对公众开放了“拿了就走无需结账”的无人店 Amzon Go,但顾客首次进店仍需下载 App、登陆亚马逊账号并扫描二维码。对于亚马逊来说,这个速度还是太慢了。
上周,亚马逊终于跨过了顾客和收银台间的最后一道坎:亚马逊公布了人手识别技术专利,0.3秒内可完成扫描支付,误差仅有百万分之一,未来误差会进一步缩小到一亿分之一
亚马逊人手支付来了!不刷脸,刷手就能付钱
专利文档封面显示,亚马逊早在2018年6 月就提出了专利申请,2019 年12 月 26 日,美国专利商标局才公开发表了这份专利。
亚马逊纽约办公室的工程师也证实,他们从一年前就已经开始着手研发更快更准确的新生物识别技术,并在公司内的自动售货机上实行内测,可以刷手买汽水薯片充电器等小玩意儿。
亚马逊人手支付来了!不刷脸,刷手就能付钱
▲贝索斯:失去“花钱的实感”,就会花更多的钱!
今后,顾客在亚马逊线下店购物可能连手机都不用拿出来,只要在扫描仪上晃一下手,就能瞬间完成支付动作。
识皮更识骨:亚马逊人手识别专利细节
在生物信息识别领域,指纹识别可以说是最先进入人们视野、发展得最早最快的技术,然而随着机器学习和更先进的光学元件的出现,人脸识别、虹膜识别等后起之秀冲击了指纹识别的地位。
但是,人手携带的生物信息远远不止指纹这么简单。手掌纹、静脉血管结构、皮下软组织等都可以成为人类独一无二的身份证。
亚马逊就看中了这一点。
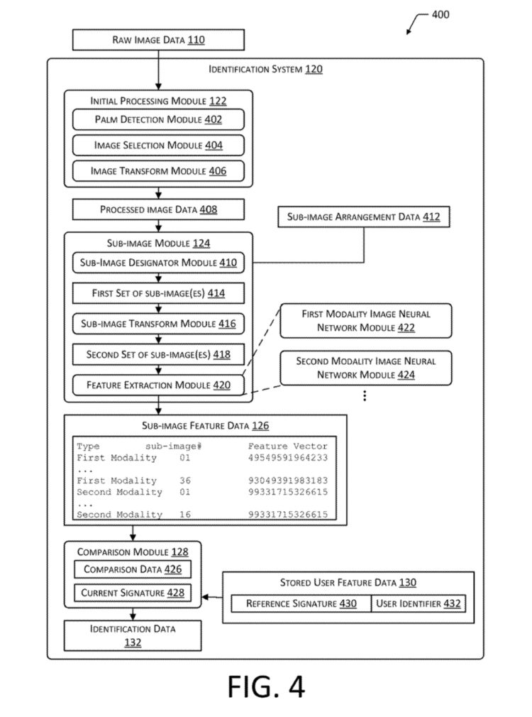
在公开的专利申请中,亚马逊称,人手识别是一种“非接触式的生物识别系统,包括一台能够读取用户手掌信息的扫描仪。”被识别者的手掌信息会被分割为更小的照片,并使用神经网络提取特征向量,和该用户以往的记录进行比对,以验证是本人。在实际应用中,消费者可以将信用卡和手部信息绑定,在结账的时候只需要刷一下手就可以完成付款。
根据亚马逊专利文件中的图示,用户需要把手在一个类似读卡器的摄像头上晃一下(不需要像读指纹一样把手按在屏幕上)。
亚马逊人手支付来了!不刷脸,刷手就能付钱
▲两种实现方式
与此同时,红外线摄像头则会生成两张图片:第一张是第一种波长的偏振光下生成的手掌表面信息,包括手掌内的褶皱和细小的纹路;第二张是第二种波长的偏振光下照到的手掌内部脉络,比如静脉血管。
亚马逊人手支付来了!不刷脸,刷手就能付钱
手掌表面信息和底层信息结合在一起加强了系统的安全性,就算有人倒模做出一只一模一样的手来,也没法骗过摄像头。
接着,手掌图片会被分割成多个小部分,由多层神经网络处理外部掌纹特征以及内部解剖特征,并和用户预存在系统内的手掌信息进行对比,完成验证。
亚马逊人手支付来了!不刷脸,刷手就能付钱
为了使刷手更加快捷,亚马逊还在系统中加入了图像变换模块。
图像变换模块可以将输入图像平移、旋转、翘曲、过滤,使图像变得更标准。例如,应用校正变换后,原始图像的像素会从扭曲的原位置映射到标准图像中的不同位置,哪怕刷手时手掌没有伸直,或者没倾斜扭转,也可以准确读取。
亚马逊人手支付来了!不刷脸,刷手就能付钱
▲完整的读取流程
刷手技术没有停留在理论层面,而是已经被加入了亚马逊无人店全家桶。在专利文件最后,亚马逊也介绍了如何将人手识别纳入 Amazon Go 现有的验证体系,说明了从刷手验明正身、到在无人店内使用各种传感器检测用户购物行为、最终从用户绑定账户中扣款的全过程。
亚马逊人手支付来了!不刷脸,刷手就能付钱
而从专利文件上也能看出人手识别和 Amazon Go 的紧密联系。在专利发明人名单上出现了多位 Amazon Go 核心人员的名字,其中 Dilip Kumar 是 Amazon Go 的技术负责人,也是亚马逊实体零售计划的副总裁。
亚马逊人手支付来了!不刷脸,刷手就能付钱
有理由相信,这项技术会在亚马逊自家实体店先落地。
比指纹更便捷,比刷脸更道德
手掌识别的的出现不是因为亚马逊有意返璞归真,而是为了解决一系列人脸识别带来的问题。
首先,人脸识别存在严重的数据歧视问题。
2019 年美国商务部下属研究院对包括英特尔和微软在内的主流人脸识别软件进行测试后发现,在一对一匹配中,亚洲人、黑人和印第安人等有色人种被误认的概率比白人高出 10-100 倍。在另一份麻省理工学院的论文中,研究员 Joy Buolamwini 发现人脸识别软件在识别黑人女性时错误率高达 34.7%,而识别白人男性时错误率仅有 0.8%。
而使用掌纹识别,结果不会受到性别和肤色的影响。
其次,人脸识别带来了隐私泄露的巨大隐患。
不管是网上流传的“人脸数据集”还是不断传出的“App 诱导用户上传照片为训练算法”新闻,都让用户对自己的肖像权越来越敏感,在 Deepfake 等换脸算法流行的当下,泄露面部信息更带来了前所未有的潜在风险。在使用人脸识别时,像“给嫌疑犯照相一样”的流程和隐私被侵犯的感觉难免让用户从心底里排斥,甚至选择传统的密码解锁或现金支付方式。
不受用户欢迎,人脸识别也不招美国政府待见。去年,为保护市民隐私,美国旧金山市和马萨诸塞州的萨默维尔市先后通过了人脸识别禁令,禁止政府机构购买和在公共场所使用人脸识别技术。受舆论影响,奥克兰、纽约等城市也在考虑类似禁令。
而亚马逊提出的手掌识别,可能是一种代替人脸的全新思路。
亚马逊人手支付来了!不刷脸,刷手就能付钱
*本文版权归“PingWest品玩”公众号所有,未经授权严禁转载。

AI中国网 https:// www.cnaiplus.com

本文网址:

欢迎关注微信公众号:人工智能报;合作及投稿请联系:editor@cnaiplus.com

AI中国号...

关注微信公众号,了解最新精彩内容